HİZMET VER
Armut
3D Modelleme
Ankara
Sincan
Ali Gökkaya
3D Modelleme
·
1 yıldır üye
Ankara
Sincan
BAŞLA
Müşterilerinin Yorumları
Yorumları görmek için teklif alın.
Güvenlik Kontrolleri
Geçerli Cep Telefonu
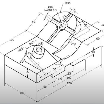
Katı modelleme, yüzey ve sac metal ile tasarımlar gerçekleştirebilir bunların teknik resimlerini hazırlayabilirim. İstenildiği taktirde render görüntü hazırlayabilir ve animasyon yaratabilirim. Mühendislik anlamında teknik destek yardımında bulunabilir, tasarımlarınızda buna göre revizyonlar gerçekleştirebilir, imalata hazır hale getirebilirim.
X
Müsait Hizmet Verenlerden 4 3D Modelleme Fiyat Teklifi Al, Karşılaştır.
4521 3D Modelleme Uzmanı hizmet vermeye hazır.
BAŞLA
Teklif al >
4 3D Modelleme Fiyat Teklifi Al